Section 07-03A: Transmission, Manual, M5OD | 1996 F-Series and Bronco (under 8500 lbs. GVW) with 4.9L and 5.0L Engines Workshop Manual |
| Description | Tool Number |
|---|---|
| Shaft Adapter Replacer | T75L-7025-L |
| Countershaft Fifth Gear Sleeve Puller | T88T-7025-J |
| Remover/Replacer Tube | T75L-7025-B |
| Gear Replacing Spacer | T88T-7025-F |
| Gear Replacing Spacer | T88T-7025-G |
| Remover/Replacer Tube | T85T-7025-A |
| TOD Bearing Remover/Replacer Adapter | T84T-7025-A |
| Shaft Collar | T75L-7025-P |
| Shaft Sleeve Replacer | T75L-7025-K |
| Mainshaft Locknut Staking Tool | T77J-7025-F |
Position countershaft into case through top opening.

NOTE: Make sure needle roller bearing is installed into input shaft.
Position input shaft (7017) into case through top opening.

NOTE: Make sure fourth gear synchronizer blocking ring is installed at this time.
Position output shaft into case. Mate input shaft and output and fifth gear driveshaft by positioning them at an upward angle and setting them together.

Install mainshaft bearing roller using a brass drift.

| Item | Part Number | Description |
|---|---|---|
| 1 | — | Transmission Case Wall (Part of 7003) |
| 2 | 7118 | Bearing |
| 3 | 7061 | Output Shaft |

NOTE: Make sure center bearing outer races are squarely positioned in bores.
Install countershaft center bearing.
Install bearing installer to case (7005).
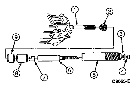
NOTE: Install fifth gear sleeve using nut, Shaft Adapter Replacer T75L-7025-L, Countershaft Fifth Gear Sleeve Puller T88T-7025-J and Remover/Replacer Tube T75L-7025-B.
Positiontransmission (7003) horizontally in holding fixture. Assemble the following parts in the order listed.
Transmission, Rear Housing

| Item | Part Number | Description |
|---|---|---|
| 1 | 7B364 | Lock Nut |
| 2 | 7R205 | Output Shaft Rear Bearing |
| 3 | 7142 | Output Shaft Reverse Gear |
| 4 | 7072 | Spacer or Sleeve |
| 5 | 7141 | Reverse Idler Gear and Bushing |
| 6 | 7085 | Bearing Retainer |
| 7 | 7K179 | Reverse Idler Gear Holding Bolt |
| 8 | 99796-0612 | Bolt |
| 9 | 7214 | Fifth and Reverse Shift Rod Bolt |
| 10 | 99611-2000 | Ball |
| 11 | 7173 | Input Bearing Spacer |
| 12 | 7112 | Fifth Gear |
| 13 | 7R130 | Needle Bearing Fifth Gear |
| 14 | 7142 | Fifth Gear, Countershaft |
| 15 | 7107 | Synchronizer Blocking Ring |
| 16 | 7124 | Synchronizer |
| 17 | 7107 | Synchronizer Blocking Ring |
| 18 | 7R482 | Synchronizer Split Washer |
| 19 | 7C340 | Thrust Washer |
| 20 | 7N040 | Countershaft Reverse Gear |
| 21 | 7L324 | Thrust Washer |
| 22 | 7N170 | Lock Nut |
| 23 | 7D283 | Countershaft Rear Bearing |
| 24 | 7N270 | Needle Bearing |
| 25 | 7289 | Lockball (Steel) Shift Rail |
| 26 | 99796-0612 | Bolt |
| 27 | 7289 | Shift Fork (5th and Reverse) |
Install fifth gear needle bearing onto fifth gear (countershaft (7111)).
NOTE: (4x2 vehicles): To install fifth gear assembly, perform the process in two steps. First, install Gear Replacing Spacer T88T-7025-F. When tool bottoms, add Gear Replacing Spacer T88T-7025-G and press fifth gear assembly the rest of the way into position.
NOTE: (4x4 vehicles): Installation of fifth gear assembly is similar to 4x2 installation except that Remover/Replacer Tube T85T-7025-A and TOD Bearing Remover/Replacer Adapter T84T-7025-A are used.
Install fifth gear onto output and fifth gear driveshaft using Gear Replacing Spacer T88T-7025-F, Gear Replacing Spacer T88T-7025-G, Shaft Collar T75L-7025-P, Shaft Sleeve Replacer T75L-7025-K, Remover/Replacer Tube T75L-7025-B (4x2 vehicles only) or Remover/Replacer Tube T85T-7025-A (4x4 vehicles only), nut and washer or equivalents. Make sure that long flange on fifth gear faces forward.
Output Shaft Rear Bearing Installation

| Item | Part Number | Description |
|---|---|---|
| 1 | 7061 | Output Shaft |
| 2 | 7112 | Fifth Gear |
| 3 | — | Washer (Part of T75L-7025-K) |
| 4 | — | Nut (Part of T75L-7025-K) |
| 5 | T75L-7025-B | Remover/Replacer Tube |
| 6 | T75L-7025-K | Shaft Sleeve Replacer |
| 7 | T75L-7025-P | Shaft Collar |
| 8 | T88T-7025-F | Gear Replacing Spacer |
| 9 | T88T-7025-G | Gear Replacing Spacer |
Position fifth and reverse shift lever to transmission and install fifth and reverse gear shift lever washer and retaining ring. Apply sealant to counter lever fixing bolt threads. Install bolt and tighten to 8-10 Nm (71-88.5 lb-in).
If removed, position fifth/reverse gear shifter fork (7230) and reverse gear shift rail (7240) to top cover. Insert reverse gear shift rail through top cover bore and fifth/reverse gear shifter fork. Install shifter interlock spring (7234) and detent ball to lower part of rod.

Assemble the fifth/reverse synchronizer to the fifth/reverse gear shifter fork and rod assembly. Make sure to install the longer flange toward the front of transmission. The identification hole on synchronizer sleeve must be installed toward reverse gear side.

NOTE: To ease installation of the fork and rail assembly, position the fifth/reverse shift fork into the rearmost of the three detent positions (rearmost from threaded bore). Return gear shifter fork to neutral gear position after installation.
Install fifth/reverse gear shifter fork and rod assembly (including fifth/reverse synchronizer) to countershaft. Mate shift fork gate to end of fifth and reverse shift lever. Install fifth/reverse fork and shift rail assembly with threaded fixing bolt bores (in rail and case) aligned with each other.

Apply sealant to oil passage retaining bolt. Position oil bypass tube to case and install retaining bolt. Tighten oil passage retaining bolt to 8-10 Nm (71-88.5 lb-ft).

If original clutch hub and/or counter reverse gear are being used, install original split and thrust washers, then proceed to Step 17.
NOTE: Make sure new synchronizer split washers are matched, with identical thickness. Refer to Specifications for end play tolerance.
If clutch hub and/or counter reverse gear have been replaced, measure end play using a feeler gauge. Select replacement synchronizer split washer using the following chart and install new synchronizer washers onto output shaft.

| Part Number | Thickness |
|---|---|
| E8TZ-7R482-A | 3.0mm (0.118 In.) |
| E8TZ-7R482-B | 3.1mm (0.122 In.) |
| E8TZ-7R482-C | 3.2mm (0.125 In.) |
| E8TZ-7R482-D | 3.3mm (0.129 In.) |
| E8TZ-7R482-E | 3.4mm (0.133 In.) |
| E8TZ-7R482-F | 3.05mm (0.120 In.) |
| E8TZ-7R482-G | 3.15mm (0.124 In.) |
| E8TZ-7R482-H | 3.25mm (0.127 In.) |
| E8TZ-7R482-J | 3.35mm (0.131 In.) |
| E8TZ-7R482-K | 3.45mm (0.135 In.) |
| E8TZ-7R482-L | 3.50mm (0.137 In.) |
Install reverse synchronizer blocking ring (7107) and needle bearings into counter reverse gear. Install counter reverse gear and needle bearings onto countershaft as an assembly. Install thrust washer to countershaft.
NOTE: If end play is not correct, the thrust washer that must be replaced is called out as item No. 21. Refer to the exploded view of the transmission rear housing.
Press thrust washer forward (by hand) against shoulder on countershaft. Maintain forward pressure against thrust washer and insert feeler gauge between thrust washer and counter reverse gear. Using the chart, determine correct thrust washer to obtain specified end play. Counter reverse gear end play: 0.25-0.35mm (0.009-0.013 inch).

| Part Number | Thickness |
|---|---|
| E8TZ-7C340-A | 7.45mm (0.293 In.) |
| E8TZ-7C340-B | 7.65mm (0.301 In.) |
| E8TZ-7C340-C | 7.85mm (0.309 In.) |
| E8TZ-7C340-D | 7.35mm (0.289 In.) |
| E8TZ-7C340-E | 7.55mm (0.297 In.) |
| E8TZ-7C340-F | 7.75mm (0.305 In.) |
NOTE: Installation of a suitable spacer prevents thrust washer and split washers from slipping off shaft and avoids interference with reverse idler gears.
Temporarily install a suitable spacer (inner bore larger than 21mm, outer bore smaller than 36mm, 15-20mm overall length) in place of countershaft bearing. Loosely install countershaft lock nut to retain components.
NOTE: When installing the reverse gear, make sure the longer flange of the gear is facing rearward.
Install reverse idler gear and bushing. Apply sealant to bolt threads. Install and tighten fixing bolt to 79-117 Nm (58-86 lb-ft).
NOTE: Install reverse gear with longer flange facing rearward.
Drive sleeve and reverse gear assembly onto output shaft using Gear Replacing Spacer T88T-7025-G, Shaft Collar T75L-7025-P, Shaft Sleeve Replacer T75L-7025-K, Remover/Replacer Tube T75L-7025-B (4x2 models only), Remover/Replacer Tube T85T-7025-A (4x4 models only), nut and washer.
Install output shaft rear bearing using Gear Replacing Spacer T88T-7025-G, Shaft Collar T75L-7025-P, Shaft Sleeve Replacer T75L-7025-K, Remover/Replacer Tube T75L-7025-B (4x2 models only), or Remover/Replacer Tube T85T-7025-A (4x4 models only), nut and washer.
Remove temporary spacer from countershaft.
Install countershaft rear bearing.
NOTE: Always install new output and countershaft lock nuts when assembling transmission. Lock nuts unstaked during disassembly cannot be reused.
NOTE: Tightening shaft lock nuts without fully seating bearing can cause damage to output shaft threads.
Lock transmission into first and third gears. Install new output and countershaft lock nuts hand tight. Tighten output shaft lock nut to 216-274 Nm (160-202 lb-ft). Tighten countershaft lock nut to 128-196 Nm (94-144 lb-ft).
Stake (secure) lock nuts to bottom of shaft groove using Mainshaft Locknut Staking Tool T77J-7025-F.

| Item | Part Number | Description |
|---|---|---|
| 1 | T77J-7025-F | Mainshaft Locknut Staking Tool |
| 2 | 7B364 | Output Shaft and Rear Bearing Lock Nut |
| 3 | 7141 | Reverse Idler Gear and Bushing |
| 4 | 7N170 | Countershaft Lock Nut |
| 5 | 7061 | Output Shaft |
Remove any sealant residue from mating surfaces of case and extension housing (7A039). Apply a 1/8-inch bead of Silicone Rubber D6AZ-19562-AA or -BA meeting Ford specification ESB-M4G92 or ESE-M4G195-A to case.
Place synchronizers into neutral gear position. Make sure that shift forks on case cover (7222) are in neutral gear position.
NOTE: Do not apply sealant to mating surfaces of case or case cover during top cover installation. If necessary, apply a small quantity of grease to case cover gasket (7223) to retaincase cover gasket in position during assembly.
Positioncase cover to case, and carefully engage shift forks with synchronizers. Apply sealant to the two rearmost top cover retaining bolts only, and install them into top cover rear retaining bolt locations. Install remaining retaining bolts (no sealant). Tighten bolts to 16-22 Nm (12-16 lb-ft).
Install transmission case plug and tighten to 40-58 Nm (29-43 lb-ft).
Fill transmission with specified quantity of Motorcraft MERCON® Multi-Purpose Automatic Transmission Fluid XT-2-QDX or -DDX or equivalent MERCON® transmission oil.
